

MSP430F5234是TI公司的一款低功耗高性能产品,MSP430F5234是MSP430F524x、MSP430F523x 混合信号微控制器,本页介绍了MSP430F5234的产品说明、应用、特性等,并给出了与MSP430F5234相关的TI元器件型号供参考。
MSP430F5234 - MSP430F524x、MSP430F523x 混合信号微控制器 - 低功耗高性能 - 低功耗MCU - TI公司(Texas Instruments,德州仪器)
- Low Supply-Voltage Range: 3.6 V Down to 1.8 V
- Ultra-Low Power Consumption
- Active Mode (AM): All System Clocks Active 290 µA/MHz at 8 MHz, 3.0 V, Flash Program Execution (Typical) 150 µA/MHz at 8 MHz, 3.0 V, RAM Program Execution (Typical)
- Standby Mode (LPM3): Real-Time Clock (RTC) With Crystal, Watchdog, and Supply Supervisor Operational, Full RAM Retention, Fast Wakeup: 1.9 µA at 2.2 V, 2.1 µA at 3.0 V (Typical) Low-Power Oscillator (VLO), General-Purpose Counter, Watchdog, and Supply Supervisor Operational, Full RAM Retention, Fast Wakeup: 1.4 µA at 3.0 V (Typical)
- Off Mode (LPM4): Full RAM Retention, Supply Supervisor Operational, Fast Wakeup: 1.1 µA at 3.0 V (Typical)
- Shutdown Mode (LPM4.5): 0.18 µA at 3.0 V (Typical)
- Wakeup From Standby Mode in 3.5µs (Typical)
- 16-Bit RISC Architecture, Extended Memory, up to 25-MHz System Clock
- Flexible Power-Management System
- Fully Integrated LDO With Programmable Regulated Core Supply Voltage
- Supply Voltage Supervision, Monitoring, and Brownout
- Unified Clock System
- FLL Control Loop for Frequency Stabilization
- Low-Power Low-Frequency Internal Clock Source (VLO)
- Low-Frequency Trimmed Internal Reference Source (REFO)
- 32-kHz Watch Crystals (XT1)
- High-Frequency Crystals up to 32 MHz (XT2)
- 16-Bit Timer TA0, Timer_A With Five Capture/Compare Registers
- 16-Bit Timer TA1, Timer_A With Three Capture/Compare Registers
- 16-Bit Timer TA2, Timer_A With Three Capture/Compare Registers
- 16-Bit Timer TB0, Timer_B With Seven Capture/Compare Shadow Registers
- Two Universal Serial Communication Interfaces (USCIs)
- USCI_A0 and USCI_A1 Each Support:
- Enhanced UART With Automatic Baud-Rate Detection
- IrDA Encoder and Decoder
- Synchronous SPI
- USCI_B0 and USCI_B1 Each Support:
- I2C
- Synchronous SPI
- USCI_A0 and USCI_A1 Each Support:
- 10-Bit Analog-to-Digital Converter (ADC) With Internal Reference, Sample-and-Hold
- Comparator
- Hardware Multiplier Supports 32-Bit Operations
- Serial Onboard Programming, No External Programming Voltage Needed
- Three-Channel Internal DMA
- Basic Timer With RTC Feature
- Section 3 Summarizes the Family Members
- For Complete Module Descriptions, See the MSP430x5xx and MSP430x6xx Family User's Guide (SLAU208)
- Analog Sensor Systems
- Digital Sensor Systems
- Data Loggers
- General-Purpose Applications
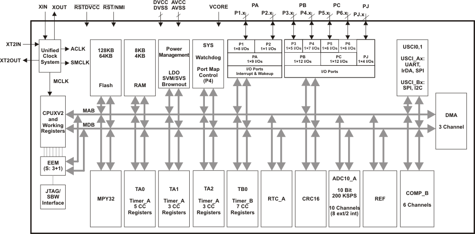
The TI MSP430™ family of ultra-low-power microcontrollers consists of several devices featuring different sets of peripherals targeted for various applications. The architecture, combined with extensive low-power modes, is optimized to achieve extended battery life in portable measurement applications. The device features a powerful 16-bit RISC CPU, 16-bit registers, and constant generators that contribute to maximum code efficiency. The digitally controlled oscillator (DCO) allows the device to wake up from low-power modes to active mode in 3.5µs (typical).
The MSP430F524x series are microcontroller configurations with four 16-bit timers, a high-performance 10-bit ADC, two USCIs, a hardware multiplier, DMA, a comparator, and an RTC module with alarm capabilities.
The MSP430F523x series microcontrollers include all of the peripherals of the MSP430F524x series except for the ADC.
| PART NUMBER | PACKAGE | BODY SIZE(2) |
|---|---|---|
| MSP430F5249IRGC | VQFN (64) | 9 mm × 9 mm |
| MSP430F5249IZQE | BGA (80) | 5 mm × 5 mm |
| MSP430F5244IRGZ | VQFN (48) | 7 mm × 7 mm |









