

ADS58J89 - ADS58J89 和 ADS58J88 数据表
ADS58J89是TI公司的一款宽带接收器产品,ADS58J89是ADS58J89 和 ADS58J88 数据表,本页介绍了ADS58J89的产品说明、应用、特性等,并给出了与ADS58J89相关的TI元器件型号供参考。
ADS58J89 - ADS58J89 和 ADS58J88 数据表 - 宽带接收器 - 模拟前端(AFE) - TI公司(Texas Instruments,德州仪器)
产品特性
- 4 通道、14 位 500MSPS,具有数字信号处理功能
- 功率放大器线性化(反馈)模式
- 14 位 250MSPS 间隔采样
- 可编程分辨率与占空比
- 占空比 3:2(60% 11 位,40% 9 位)
- 占空比 2:3(40% 12 位,60% 9 位)
- 占空比 1:3(25% 14 位,75% 9 位)
- 流量接收器模式
- 14 位 250MSPS:2 倍抽取率滤波器,高通/低通
- 9 位滤波器信噪比 (SNR) 提升模式(最大带宽为 150MHz)
- 9 至 14 位时分双工 (TDD) 突发模式(最大带宽为 200MHz)
- 灵活的输入时钟缓冲器,支持 1/2/4 分频
- JESD204B 数字接口(速率高达 5.0Gbps)
- 每个通道有 1 或 2 个信道,支持子类 1
- 64 引脚超薄型四方扁平无引线 (VQFN) 封装 (9mm × 9mm)
产品应用
- 多载波、多模式、多频带蜂窝接收器
- TDD-LTE
- FDD-LTE
- CDMA、WCMDA、CMDA2k
- GSM
- 射频 (RF) 和微波回程
- 点对点回程
- 点对多点回程
- 无线中继器
- 分布式天线系统 (DAS)
- 无线宽带
产品说明
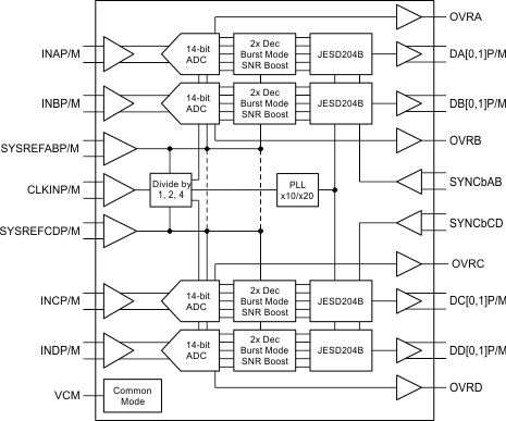
ADS58J89 是一款高线性度、四通道、14 位 250/500MSPS IF(中频)接收器。 四个通道上均有 14 位 500MSPS 模数转换器 (ADC),用于处理无线基础设施系统的信号。 各通道可根据带宽、分辨率和采样时间要求配置为不同模式。 信号处理模块包含可选模式:抽取滤波器模式、滤波器 SNR 提升模式、分辨率与时间模式以及时分双工 (TDD) 突发模式。 这 4 个通道针对多天线系统进行设计,为采用小型封装的多通道接收器提供了较高的带宽与线性度。 在 TDD 系统中,此器件可同时用作流量接收器和功率放大器线性化反馈路径。
主要技术规格:
- 功耗:每通道 875mW
- 输入带宽 (3dB):900MHz
- 孔径抖动:98fs rms
- 通道隔离:85dB
- ƒin = 170MHz(–1dBFS,–1dBFS)条件下的性能
- SNR:65.8dBFS
- 无杂散动态范围 (SFDR):85dBc(HD2,HD3);95dBFS(非 HD2,HD3)
产品器件信息
| 部件号 | 封装 | 最大输出速率 |
|---|---|---|
| ADS58J89 | VQFN (64) | 500MSPS |
下面可能是您感兴趣的TI公司宽带接收器元器件


TI公司产品现货专家,订购TI公司产品不限最低起订量,TI产品大陆现货即时发货,香港库存3-5天发货,海外库存7-10天发货
寻找全球TI代理商现货货源 - TI公司(德州仪器)电子元件在线订购






